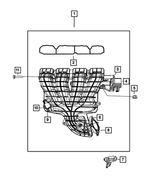
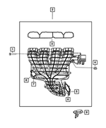
Manifolds and Vacuum Fittings for 2010 Dodge Journey
Mopar Includes All Items In The Box. Without Flow Control Valve Actuator
Mopar M5.74X1.81X21.50. Engine Cover Bracket To Intake Manifold
Mopar Hex Flange Nut, Mounting
M8x1.25x8.0. Park Brake Lever to Park Brake Sled
Mopar Hex Flange Nut, Mounting
M8x1.25x8.0. Park Brake Lever to Park Brake Sled
Mopar Tapping Hex Head Screw
M4.2X1.70X16.00. Map Sensor To Intake Manifold
Mopar Hex Flange Head Bolt, Mounting
M8X1.25X45.00. T/CASE TORSIONAL DAMPER TO T/CASE
Mopar Hex Flange Head Bolt, Mounting
M10x1.50x25.00. Mounting, Lever To Seat Frame [M10x25]
Mopar Hex Flange Lock Nut, Mounting
M8x1.25x8.0. Park Brake Lever to Park Brake Sled
Mopar Hex Flange Head Bolt, Mounting
M10x1.50x25.00. Mounting, Lever To Seat Frame [M10x25]
Mopar Hex Flange Lock Nut, Mounting
M8x1.25x8.0. Park Brake Lever to Park Brake Sled
Mopar Hex Flange Head Bolt, Mounting
M8X1.25X45.00. T/CASE TORSIONAL DAMPER TO T/CASE
Mopar Hex Flange Nut, Mounting
M8x1.25x8.0. Park Brake Lever to Park Brake Sled
Mopar Hex Flange Nut, Mounting
M8x1.25x8.0. Park Brake Lever to Park Brake Sled



