Select a dealer

Mopar® Authentic Parts & Accessories

Find a Dealer

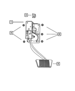
Brake Pedals for 2010 Dodge Journey

Vehicle

2010 Dodge Journey

Change Vehicle

Categories

Browse Categories